Каплеуловитель КО-60
Предзаказ
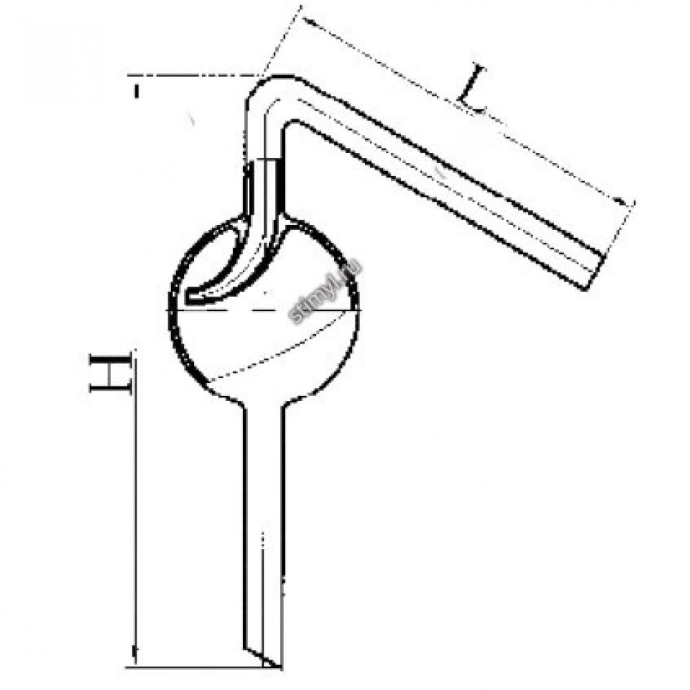
Каплеуловитель КО-60 применяется при перегонке легкокипящих жидкостей. Каплеуловитель КО применяется при перегонке легкокипящих жидкостей.Каплеуловитель КО-60 с отводной трубкой под углом 60 градусов без взаимозаменяемого конуса
| Шифр | L мм | Н мм |
| 2021 | 100 | 160 |
Характеристики
ГОСТ/ТУ
25336-82
Материал
Стекло
Документы
Документы на товар доступны только клиентам. Свяжитесь с нами и мы вышлем на ваш e-mail:
- сертификаты
- паспорта
- инструкции
- ГОСТ и ТУ
Цена и наличие
Цену и наличие уточняйте у наших специалистов. Описание и фото товара носят информационный характер и могут отличаться от описания, представленного в технической документации производителя. Обращаем ваше внимание на то, что данный интернет-сайт носит исключительно информационный характер и ни при каких условиях не является публичной офертой, определяемой положениями Статьи 437 Гражданского кодекса Российской Федерации. Рекомендуем перед покупкой проверять характеристики товара у наших менеджеров.
