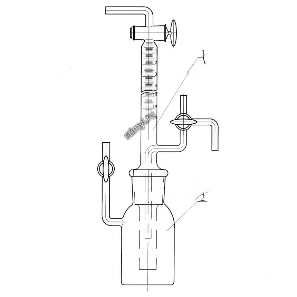
Прибор для определения объемной доли примесей в хлоре
Предзаказ
Прибор для определения объемной доли примесей в хлоре состоит из бюретки поз.1 и сосуда с краном поз.2.
- Номинальная вместимость бюретки, мл - 20
- Цена деления шкалы, мл - 0,1
- Допускаемая погрешность, мл - ± 0,1
- Бюретка выпускается без метрологической аттестации.
- Габаритные размеры, мм - 122х 50х410
- Шифр – 395
Характеристики
Материал
Стекло
Документы
Документы на товар доступны только клиентам. Свяжитесь с нами и мы вышлем на ваш e-mail:
- сертификаты
- паспорта
- инструкции
- ГОСТ и ТУ
Цена и наличие
Цену и наличие уточняйте у наших специалистов. Описание и фото товара носят информационный характер и могут отличаться от описания, представленного в технической документации производителя. Обращаем ваше внимание на то, что данный интернет-сайт носит исключительно информационный характер и ни при каких условиях не является публичной офертой, определяемой положениями Статьи 437 Гражданского кодекса Российской Федерации. Рекомендуем перед покупкой проверять характеристики товара у наших менеджеров.
