Установка для определения серосодержащих соединений в растительных маслах

Установка для определения серосодержащих соединений в растительных маслах

Предзаказ
Рейтинг:


  • Производитель: Россия
  • Артикул: 3054

Сертификация
Доставка
Оплата
13 лет на рынке
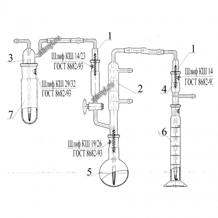
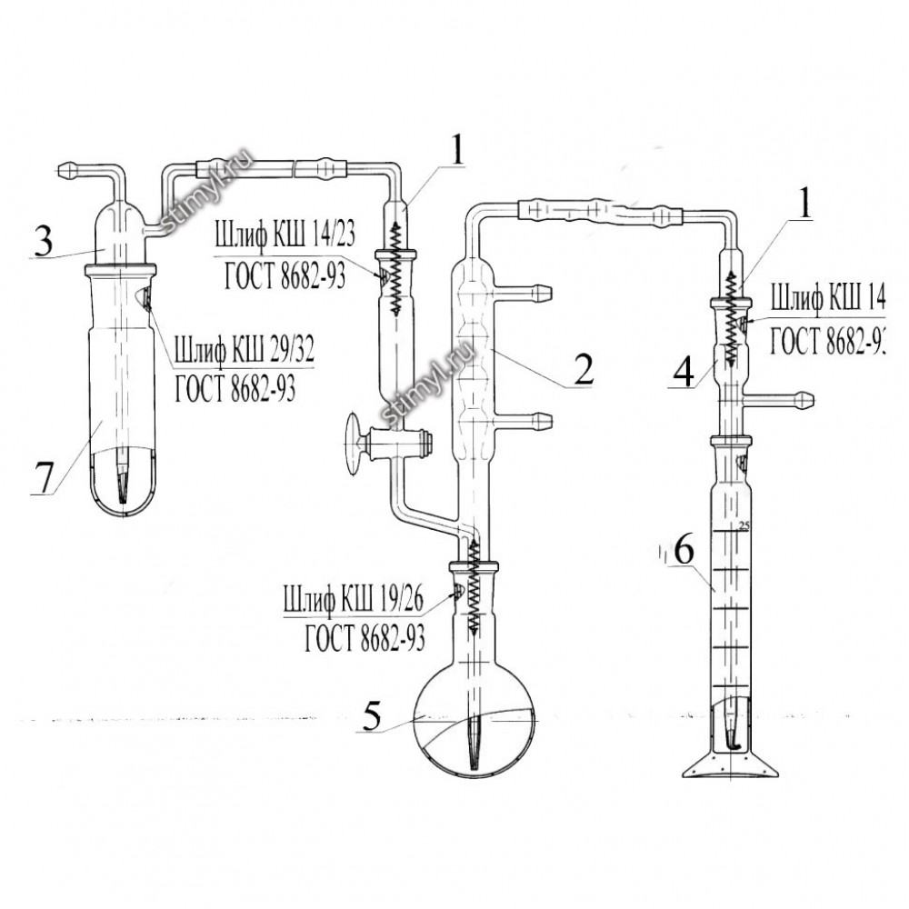
Установка для определения серосодержащих соединений в растительных маслах. Установка для определения серосодержащих соединений в растительных масла состоит из:
  1. керна КИО
  2. холодильника с воронкой
  3. пробки
  4. алонжа
  5. колбы
  6. цилиндра мерного 2-25-2 ГОСТ 1770-74
  7. пробирки П4-50-29/32 ГОСТ 25336-82
  8. детали установки соединяются между собой с помощью шлифов конических взаимозаменяемых по ГОСТ 8682-93 и закрепляются пружинками
Габаритные размеры, мм - 640х64х480Шифр - 3054
Шифр изделий, входящих в прибор
3110Керн КИО-14/23
Характеристики
Материал
Стекло

Написать отзыв

Внимание: HTML не поддерживается! Используйте обычный текст!
Я прочитал Политика конфиденциальности и согласен с условиями

Документы

Документы на товар доступны только клиентам. Свяжитесь с нами и мы вышлем на ваш e-mail:

  • сертификаты
  • паспорта
  • инструкции
  • ГОСТ и ТУ

Цена и наличие

Цену и наличие уточняйте у наших специалистов. Описание и фото товара носят информационный характер и могут отличаться от описания, представленного в технической документации производителя. Обращаем ваше внимание на то, что данный интернет-сайт носит исключительно информационный характер и ни при каких условиях не является публичной офертой, определяемой положениями Статьи 437 Гражданского кодекса Российской Федерации. Рекомендуем перед покупкой проверять характеристики товара у наших менеджеров.